Описание лотка ЛР8
Лоток железобетонный (ЛР8) ГОСТ 21509-76 применяется для устройства водоотводных систем, дренажа и защиты подземных коммуникаций. Изделие изготавливается из высокопрочного бетона с армированием стальной арматурой, что обеспечивает его прочность, устойчивость к нагрузкам и долговечность.
Применение лотка ЛР8
Лоток ЛР8 используется как элемент для строительства каналов водоотведения, дренажных систем и защиты подземных инженерных коммуникаций от воздействия влаги и механических повреждений. Он служит важной частью системы, обеспечивающей надёжность, безопасность и долговечность конструкций. Для монтажа могут применяться дополнительные элементы: раствор, закладные детали и другие комплектующие.
Типы железобетонных лотков
Железобетонные лотки подразделяются на несколько типов в зависимости от размеров и назначения:
- ЛР: лоток прямоугольного сечения;
- ДК: дренажный канал;
- ПЛ: призматический лоток;
- УБК: универсальный бетонный канал.
Размеры зависят от типа: длина 5980–6000 мм, ширина 1396–4000 мм, высота 965–1200 мм.
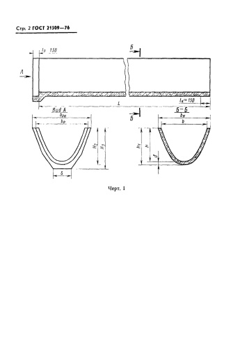
Основные параметры, размеры и характеристики
- Длина L, мм: 5980
- Ширина b, мм: 1396
- Высота h, мм: 965
- Масса, тонн: 1,92
- Объем бетона, м³: 0,767
- Геометрический объем, м³: 8,0558972
- Класс бетона: B22,5 (марка М300)
- Расход стали, кг: 42,65
Дополнительные характеристики
- Марка по морозостойкости: F200–F300
- Марка по водонепроницаемости: W6–W8
- Технология изготовления: вибропрессование или формование с использованием высокопрочного бетона.
Нормы загрузки
- Норма загрузки в автотранспорт 20 т, шт: 10
Документы
- Нормативный документ: ГОСТ 21509-76
Расшифровка маркировки ЛР8
Маркировка "ЛР8" содержит следующую информацию:
- ЛР – лоток прямоугольного сечения;
- 8 – порядковый номер типоразмера.
Условия транспортировки и хранения
Лотки ЛР8 перевозятся автомобильным или железнодорожным транспортом с использованием специальных захватных устройств (строп). Хранение осуществляется на ровных площадках с твердым покрытием. Лотки устанавливаются горизонтально в штабель высотой не более 2,5 м. Для предотвращения повреждений между изделиями устанавливаются деревянные прокладки.
Контроль качества лотка ЛР8
Каждый лоток ЛР8 проходит многоступенчатый контроль качества в соответствии с ГОСТ 21509-76. Проверяются:
- прочность бетона (не ниже класса B22,5);
- соответствие геометрических размеров проектным данным;
- качество армирования (наличие арматурного каркаса, толщина защитного слоя бетона);
- морозостойкость и водонепроницаемость бетона;
- точность расположения закладных элементов;
- отсутствие трещин, сколов и других дефектов.
Заключение
Лоток ЛР8 – надежный и долговечный элемент для устройства водоотводных систем, дренажа и защиты подземных коммуникаций. Благодаря строгому соблюдению требований ГОСТ 21509-76 и использованию качественных материалов, он обеспечивает прочность, устойчивость и долговечность конструкций. Для заказа качественных железобетонных лотков обращайтесь к производителям с сертификатами соответствия и опытом работы в сфере ЖБИ.
Смотрите также:
| Варианты написания товара |
|---|
| Лоток ЛР8 |
| ЛР8 лоток |
| Лоток ЛР8 ГОСТ 21509-76 |
| ЛР8 ГОСТ 21509-76 |
| ЛР8 |
|
ГОСТ/Серия
|
ГОСТ 21509-76 |
|
Длина, мм
|
5980 |
|
Ширина, мм
|
1396 |
|
Высота, мм
|
965 |
|
Масса, тонн
|
1.92 |
|
Объем бетона, куб.м
|
0.767 |
|
Класс бетона
|
B22,5 |
|
Геометрический объем, м.куб
|
8.0558972 |
|
Сталь, кг
|
42.65 |
Как купить
Процесс покупки железобетонных изделий у нас прост и удобен. Следуйте этим шагам:
- Выбор продукции: Ознакомьтесь с нашим ассортиментом и выберите необходимые железобетонные изделия.
- Консультация: Свяжитесь с нашим менеджером для получения консультации по выбору продукции и уточнения всех деталей. Вы можете позвонить нам или написать на электронную почту.
- Оформление заказа: После согласования всех деталей оформите заказ. Менеджер поможет вам заполнить все необходимые документы.
- Согласование доставки: После оформления заказа наш менеджер свяжется с вами для согласования условий и сроков доставки.
- Оплата: Выберите удобный способ оплаты. Мы предлагаем несколько вариантов, включая безналичный расчет.
- Получение товара: После выполнения всех условий заказа, вы получите железобетонные изделия в назначенное время и по согласованному адресу. При получении подпишите акт приема-передачи.
Если у вас возникли вопросы на любом этапе покупки, не стесняйтесь обращаться к нашим менеджерам!
Оплата
Мы принимаем только безналичные платежи и работаем исключительно с юридическими лицами. Пожалуйста, ознакомьтесь с условиями оплаты ниже:
- Способ оплаты: Все расчеты производятся безналичным путем. Мы не принимаем наличные.
- Счет на оплату: После оформления заказа вам будет выставлен счет, который необходимо оплатить в срок, указанный в документе.
- Реквизиты: Все необходимые банковские реквизиты будут предоставлены в счете. Убедитесь, что все данные указаны правильно для успешного перевода.
- Подтверждение оплаты: После осуществления платежа отправьте нам подтверждение, чтобы мы могли оперативно обработать ваш заказ.
- Получение документов: После полной оплаты вы получите все необходимые документы, включая акт выполненных работ, товарные накладные и сертификаты на продукцию.
Мы работаем с НДС и предоставляем все необходимые сертификаты и документы. Все гарантии будут прописаны в договоре, что обеспечивает прозрачность и надежность сотрудничества.
Если у вас есть вопросы по поводу процесса оплаты, не стесняйтесь обращаться к нашим менеджерам за помощью!
Наша оперативность — ваше удобство. Мы гарантируем своевременную доставку железобетонных изделий, что является ключевым фактором для успешной реализации ваших строительных проектов. Доставка осуществляется прямо к вашему объекту с учетом всех стандартов качества.
Основные условия доставки:
• Выбор тарифа: Вы можете выбрать способ расчета стоимости доставки — почасовой или по зонам.
• Согласование: Менеджер свяжется с вами для уточнения деталей после оформления заказа.
• Время на погрузку: Комплектация товара занимает от 1 до 3 дней в зависимости от объема.
• Акт приема-передачи: Продукция передается по акту приема-передачи.
Тарифы на доставку:
Цены варьируются в зависимости от расстояния и региона. Все тарифы включают НДС. При неблагоприятных погодных условиях возможны небольшие изменения в стоимости.
География доставки:
Мы работаем по всей территории РФ и имеем 12 офисов и производств, чтобы обеспечить удобные условия для доставки.
Для точного расчета стоимости доставки обращайтесь к нашим менеджерам!

